Our Bottle

Our Founding

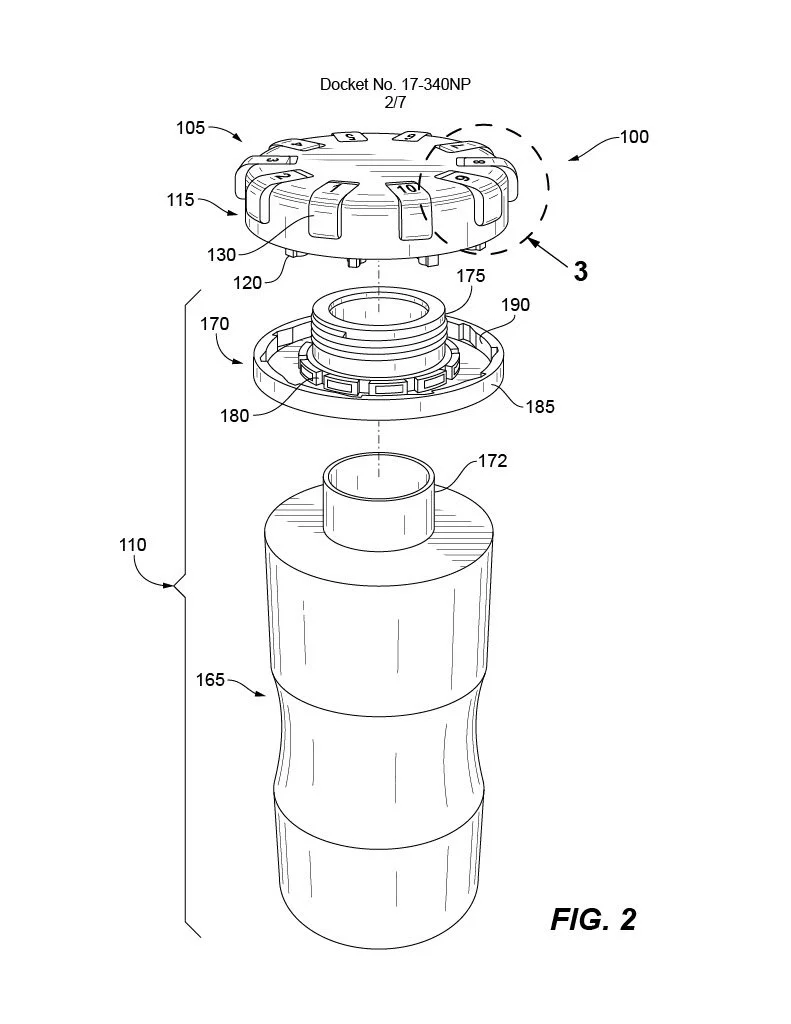
The Safe Drink™ bottle was created to address a critical concern - drink spiking. After seeing the dangers of drink spiking at college parties firsthand, we invented and patented the first locking bottle. We don’t believe it’s fair to ask people to stop going out to parties or social events out of fear, and instead we want to offer a solution that empowers people to put their safety into their own hands.

Safe Drink Patent Figure 2

Why Safe Drink™?

Safe Drink is a one-of-a-kind solution to drink spiking. With a lid that locks each time you close it, only you have access to your beverage. You can even customize your code to a combination that suits you (see a tutorial here!).

Our Mission

We want to stop tragedy before it happens. By spreading awareness of drink spiking and the tools available to prevent it, we hope to save people from the harm that drink tampering can cause.

Disclaimer

SAFE DRINK, LLC DOES NOT IN ANY WAY ENDORSE UNDERAGE DRINKING. The Safe Drink bottle is designed to act as a deterrent against the use of date rape drugs, however it does not guarantee that no one can tamper with the bottle and cause harm. If the bottle appears to have been tampered with, please use your discretion to determine whether its contents are safe for consumption. Safe Drink, LLC is not responsible for the misuse of this product.